首页|必读|视频|专访|运营|制造|监管|大数据|物联网|量子|元宇宙|博客|特约记者
手机|互联网|IT|5G|光通信|人工智能|云计算|芯片|报告|智慧城市|移动互联网|会展
首页 >> 终端 >> 正文

苹果专利探索语音版“隔空投送”:不用Wi-Fi/蜂窝网络,在iPhone/AirPods等产品上实现语音群聊

2024年7月12日 15:03  IT之家  作 者:故渊

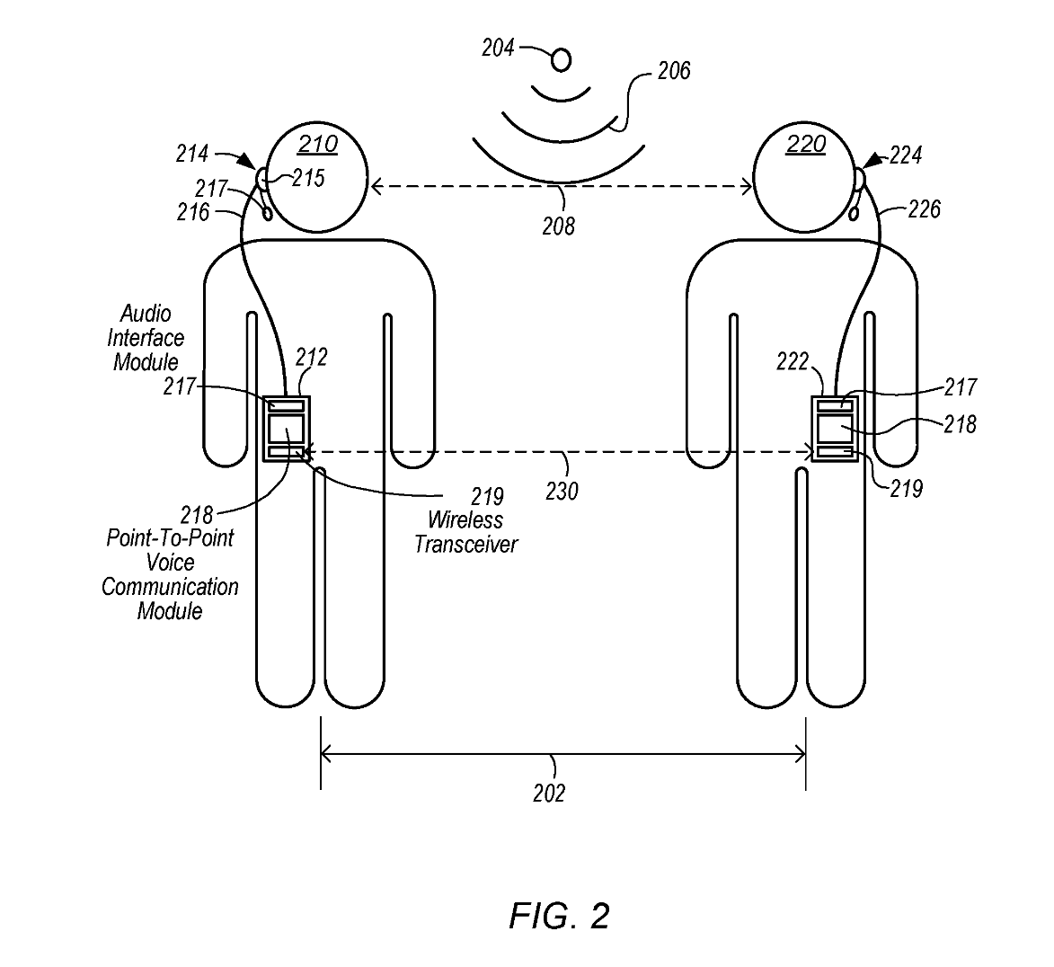
根据美国商标和专利局(USPTO)公示的最新清单,苹果公司获得了一项通信专利,不借助Wi-Fi 或者蜂窝网络的情况下,让附近使用 iPhone、AirPods 耳机等苹果设备的用户可以语音聊天。

根据专利描述,这项功能有点类似于 Apple Watch 上的“对讲机”功能,可以实现即时通信,但对象不是个人,而是一个群体。

“对讲机”功能依赖苹果公司的云服务器,因此有时候会导致对讲变得不可靠,而这项功能不需要往返云服务器,让附近一群愿意通话的人同时相互通话。

这项技术将带来全新的通信体验,用户只需使用口袋里的 iPhone,就能选择一个或多个联系人进行无缝通话。

这项功能可以认为是语音版的“隔空投送”(AirDrop),同样不需要连接网络或者通过云端进行传输,只不过分享的不是文件,而是用户的语音。这项拟议的技术将允许一对多的连接,即所有群组成员可以同时相互通话。

附上专利示例情境如下:用户可以在熙攘的人群中互相交流讨论在哪里集合,iPhone 还可以根据定位显示其他人员的位置、当前距离以及导航方向。

编 辑:章芳
声明:刊载本文目的在于传播更多行业信息,本站只提供参考并不构成任何投资及应用建议。如网站内容涉及作品版权和其它问题,请在30日内与本网联系,我们将在第一时间删除内容。本站联系电话为86-010-87765777,邮件后缀为#cctime.com,冒充本站员工以任何其他联系方式,进行的“内容核实”、“商务联系”等行为,均不能代表本站。本站拥有对此声明的最终解释权。
相关新闻              
 
人物
尚冰:中国互联网应用蓬勃发展,多项关键指标位居全球第一
精彩专题
CES 2024国际消费电子展
2023年信息通信产业盘点暨颁奖礼
飞象网2023年手机评选
第24届中国国际光电博览会
CCTIME推荐
关于我们 | 广告报价 | 联系我们 | 隐私声明 | 本站地图
CCTIME飞象网 CopyRight © 2007-2024 By CCTIME.COM
京ICP备08004280号-1  电信与信息服务业务经营许可证080234号 京公网安备110105000771号
公司名称: 北京飞象互动文化传媒有限公司
未经书面许可,禁止转载、摘编、复制、镜像