折痕有望消灭,但折叠屏手机又添新课题?
飞象原创(源初/文)近期,关于折叠屏手机的消息一波接一波,先是三星的三折叠机型现身,后是流出关于苹果阔折叠机型的消息,不过关于折叠屏手机的技术难题,似乎还是存在。
折痕有望消灭?
多个爆料消息源显示,苹果将会在明年9月发布首款可折叠iPhone,与iPhone 18 Pro系列同台登场。该机型的内屏比例上可能采用阔折叠的方式,尺寸为7.8英寸,分辨率2713×1920,4:3比例,像素密度428PPI,采用UPC屏下前摄方案,实现无开孔效果。外屏为5.5英寸,分辨率2088×1422,像素密度460PPI,采用HIAA打孔摄像头设计,开孔超小,比例接近寸接近常规iPhone。
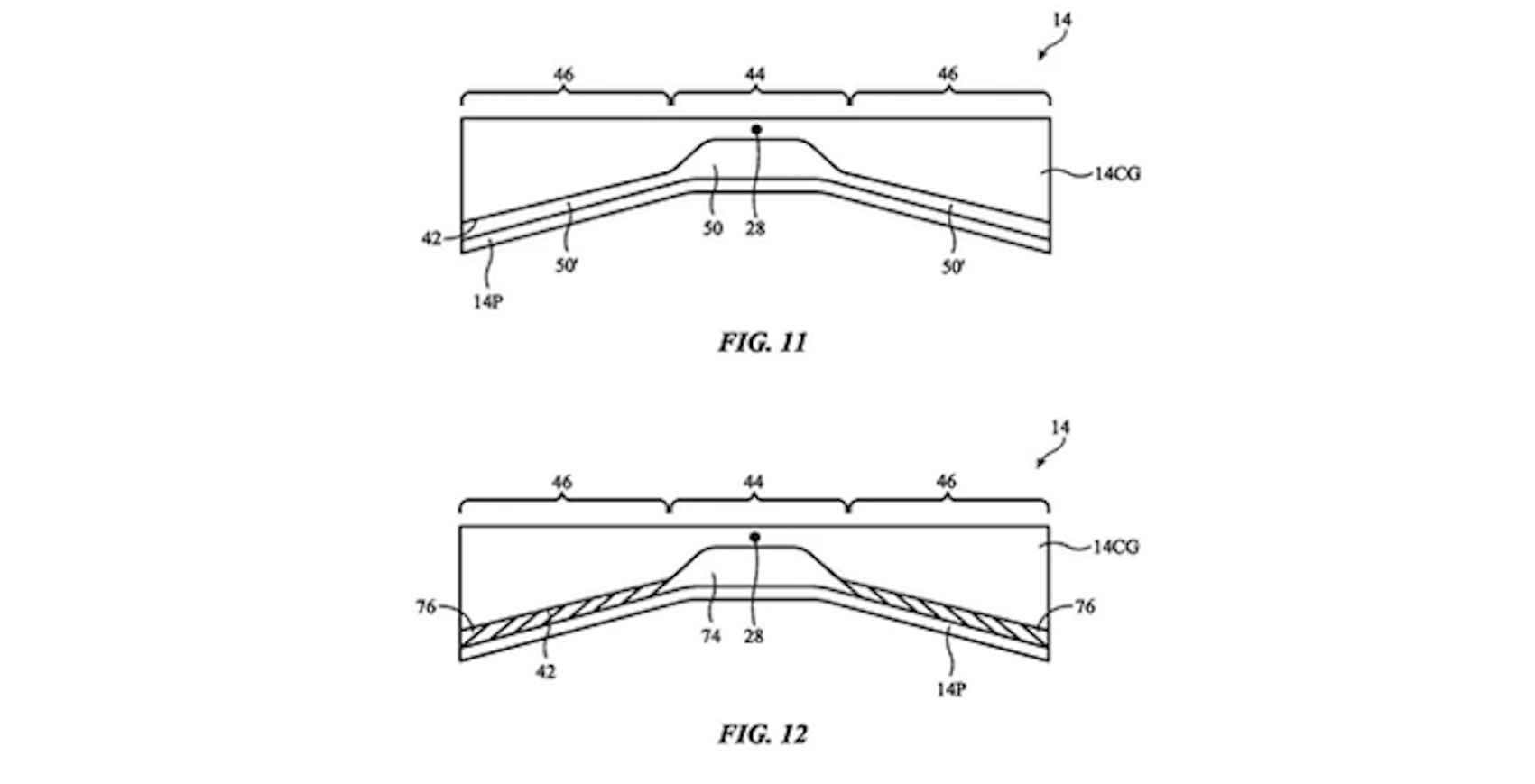
更值得关注的消息是,苹果在该机型中有望让折叠屏手机的老大难问题:“折痕”彻底消失。苹果通过新打造的铰链,内置金属应力分散板实现“近乎无折痕”的内屏效果,同时支持自修复涂层技术,提升抗刮性。
不过为了节省机身内部空间,苹果将会在该部iPhone上重新配置Touch ID,取消目前已经全面使用的Face ID,以便节省内部空间。另外,还将采用纯eSIM方案,不支持实体SIM卡槽。
根据资料,苹果曾在2024年7月16日获得一项专利。这项名为“电子设备与耐用折叠显示屏”的专利最初于2021年11月提交。专利文件描述了一种保护屏幕的铰链设计:当设备跌落时,显示屏会”围绕弯曲轴轻微折叠“让设备边缘先着地,从而保护脆性的内屏。这证实了苹果在折叠屏技术上的长期研发。
与此同时,有消息称,苹果还正在开发一款折叠屏iPad。该设备据称将配备约8英寸的显示屏,由于不需要像手机那样放入口袋,其对耐用性和厚度的要求可能相对宽松一些。
手写笔又暂时不能用了?
眼看折痕问题有望在明年消失,但折叠屏手机在今年又遭遇新问题。随着三星Galaxy Z Fold7在今年年中的发布,尽管带来了号称史上最轻薄的设计,但三星也在其中做了一个巨大妥协,那就是取消对S Pen手写笔的支持,并移除了内屏的数位板层,以进一步降低手机的厚度和重量。
当时,三星方面在接受外媒采访时,曾对此问题表示,公司仍在探索能够在不牺牲手机轻薄性的情况下支持S Pen的技术。Fold7强调满足消费者对于轻薄产品的需求。S Pen的移除是一种取舍。三星也在为S Pen研发更轻薄且创新的技术,所以当完善程度提高且消费者有需求时,会重新考虑回归这一功能。
同样是在本月,三星亮相的三折叠机型Galaxy Z TriFold同样无缘S Pen,并且任何现有的S Pen也无法在这款手机内屏或外屏上使用。这就意味着,尽管该机型拥有一块尺寸达到10英寸的AMPLED内屏,比一些平板电脑还要大,但却不能通过S Pen来实现绘画或记笔记的功能。尽管可以找到可以使用的第三方触控笔,但并不能够保证在屏幕中的精准触控。另外,如果鼻尖过于尖锐,也有可能会伤及内部屏幕。
空间与耐用性问题
折叠屏手机面临的问题还是老问题,那就是空间与耐用性,无论是Face ID的缺失,还是S Pen功能的砍去。本就精密的机身内部,在一分为二的情况下,就更显紧张,以往厂商在性能的释放、电池容量安排上本就已经形成趋势,如今在轻薄化的市场需求下,一些传统功能也需要在产品设计之初做出选择题。
而该品类也正在成为手机厂商的销量支撑力量,根据市场研究机构IDC发布的最新预测,得益于苹果明年即将推出的折叠屏iPhone,明年全球折叠屏手机市场将会增长30%,市场将会形成苹果、三星、华为三足鼎立的局面,预计明年折叠屏手机的增长将达到峰值,直到2029年都保持增长率领先于直屏手机的势头。甚至IDC客户设备副总裁Francisco Jeronimo预测:“苹果首款可折叠iPhone的推出之日,就是折叠屏手机市场的转折点。”
但值得注意的是,该预测数值的呈现选择为“增长率”。而在出货量方面,此前调研机构Counterpoint曾预测2025年折叠屏市场的出货量将出现下滑。原因在于市场增速的放缓,与三星在部分市场的表现未达预期,以及OPPO等厂商对旗下翻盖式折叠屏手机的生产节奏进行策略性调整等因素,有着直接关联。
这个曾经令人惊叹,近年又已陷入审美疲劳的品类,能否在明年因苹果焕发第二春,不妨拭目以待。
1.本网刊载内容,凡注明来源为“飞象网”和“飞象原创”皆属飞象网版权所有,未经允许禁止转载、摘编及镜像,违者必究。对于经过授权可以转载,请必须保持转载文章、图像、音视频的完整性,并完整标注作者信息和飞象网来源。
2.凡注明“来源:XXXX”的作品,均转载自其它媒体,在于传播更多行业信息,并不代表本网赞同其观点和对其真实性负责。
3.如因作品内容、版权和其它问题,请在相关作品刊发之日起30日内与本网联系,我们将第一时间予以处理。
本站联系电话为86-010-87765777,邮件后缀为cctime.com,冒充本站员工以任何其他联系方式,进行的“内容核实”、“商务联系”等行为,均不能代表本站。本站拥有对此声明的最终解释权。
折痕有望消灭,但折叠屏手机又添新课题?
近期,关于折叠屏手机的消息一波接一波,先是三星的三折叠机型现身,后是流出关于苹果阔折叠机型的消息,不过关于折叠屏手机的技术难题,似乎还是存在。[详细]
从规模破局到质效突围:5G工厂迈入量质齐升新赛道
2025年作为“十四五”时期5G工厂“百千万”行动收官之年,我国5G工厂建设已从起步探索迈入规模应用新阶段,1260个5G工厂纳入官方名录,累计带动投资591.3亿元,覆盖41个工业大类、近90个行业..[详细]
信息光子技术产业正加速发展,并进入重要战略机遇期
当前,信息光子技术产业正加速发展,并进入重要战略机遇期。近日,中国信通院发的《信息光子技术发展与应用研究报告(2025 年)》(以下简称《报告》)指出,一方面,需求侧与人工智能、先进计..[详细]
中国信通院正式发布2026深度观察十大趋势
12月13日,2026中国信通院深度观察报告会主报告会在北京举办。本次报告会主题为 “面向“十五五”,人工智能浪潮下的新质生产力发展”。工业和信息化部党组成员、副部长张云明出席报告会并致..[详细]
1ms城市算网筑基:四川千行百业数智焕新
当前,人工智能引领的新一轮科技革命和产业变革正加速推进,各行各业都在尝试以大数据、AI模型来升级业务,这对算力基础设施及其提供服务的灵活性提出了更高的要求。为更好地支持各行各业的..[详细]













